Budú staré periférie z PS3 éry kompatibilné s PS5? Naznačuje tak najnovší patent |
Pre váš starý hardvér by sa predsa len mohlo nájsť využitie a to práve na najnovšej generácii konzol
HARDWARE > NOVINKY >
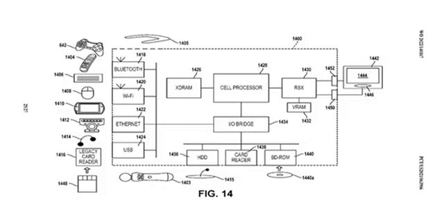
Portál Game Rant spozoroval nový patent Sony, ktorý pojednáva o starom PS3 hardvéri, akým je napríklad DualShock, Sony Media Remote, PlayStation Mouse, EyeToy, PlayStation Move wand a dokonca aj pamäťová karta. Väčšina zo spomínaných technológií patrí práve do spomínanej PS3 éry, a tak boli už dávno odstavené z výrobných liniek.
Tento patent by zároveň mohol byť súčasťou snahy spoločnosti o emuláciu PS3 hier, ktoré boli kvôli údajne špecifickej technológii vždy odsúvané stranou. Využitie týchto starších technológií v kombinácii s emuláciou znie zaujímavo, je však celkom pravdepodobné, že tento patent je nevyhnutný iba pre softvérovú emuláciu funkcií spomínaného hardvéru.
Páči sa mi! (+1)
| NAJČÍTANEJŠIE ČLÁNKY TÝŽDŇA |
- RECENZIA: Diablo IV: Lord of Hatred 68
- RECENZIA: The Division: Resurgence 29
- Ruský procesor Irtysh importovaný z Číny sa predstavil na Witcherovi 63
- V Rockstare majú teraz pri dokončovaní GTA 6 drsné nadčasy 92
- Hogwars Legacy je teraz zadarmo na Epic Store 13
- GTA VI nebude mať skutočné značky, Take-Two potvrdilo pokračovanie tradície série 46
- The Blood of Dawnwalker sa predstavuje 63
- Článok: Logitech G512 X 75 herná klávesnica 15
- RECENZIA: Crown of Greed 2
- Článok: Samsung Galaxy A57 5 zobraziť viac článkov >
















