Nintendo si patentovalo nové Joy-Cony pre Switch 2, ktoré môžu fungovať ako myš |
Už pri predstavení Switchu 2 sa hovorilo, že ovládače môžu fungovať aj ako myš, a už tu máme patent.
Už pri predstavení Switchu 2 sa hovorilo, že ovládače môžu fungovať aj ako myš, a už tu máme patent. Nintendo si svoj systém patentovalo a máme to predstavené aj na sérii záberov.
Joy-Con ako myš a nový rozdelený ovládač
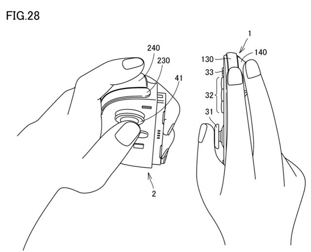
Obrázky z patentu ukazujú Joy-Con držiaci sa horizontálne, pričom optický senzor na spodnej strane umožňuje pohyb po povrchu ako pri klasickej myši. Iný obrázok ukazuje kombináciu: ľavý Joy-Con v bežnej polohe a pravý v „myšom režime“ - podobne ako klávesy WASD pri PC hrách.
Nintendo skúmalo aj rozdelený ovládač s tradičnými gripmi, kde minimálne pravá časť by mohla fungovať ako myš. To naznačuje, že nový ovládač by mohol ponúknuť túto novú funkciu. Ale ovládač nám ešte Nintendo neukázalo.
Magnetické pripojenie a nabíjací dock
Ďalší patent sa venuje magnetickému systému pripojenia Joy-Conov. Slovo „magnet“ sa v dokumente vyskytuje až 355-krát, čo naznačuje, že nové Joy-Cony sa môžu pripájať k Switchu 2 práve magneticky. Rovnako by mohli mať magnetické zápästné remienky a špeciálny dock na nabíjanie.
Hoci patenty nie sú vždy zárukou finálneho produktu, mnohé z týchto technológií sa už objavili v špekuláciách a Nintendo ich dokonca naznačilo v upútavke. Spoločnosť plánuje oficiálne predstavenie konzoly Switch 2 na Nintendo Direct 2. apríla 2025 a jej vydanie je očakávané do leta.
| NAJČÍTANEJŠIE ČLÁNKY TÝŽDŇA |
- RECENZIA: 007 First Light 140
- CD Projekt RED oznamuje rozšírenie The Witcher 3: Wild Hunt - Songs of the Past 120
- Pokročilé AI modely začínajú podľa výskumu viac klamať a skrývať svoje stopy 52
- Trump Phone už zákazníci dostávajú, a dostali aj darček - databáza nakupujúcich bo 33
- RECENZIA: Mouse: P.I. for Hire 15
- Epic práve odteasoval príchod Unreal Engine 6 a to na Rocket League hre 47
- PS Plus hry predstavené, zároveň začína Days of Play 2026 15
- Blu-ray mechaniky v PC už dokážu prečítať prakticky všetky konzolové disky 12
- Microsoft a Nvidia už teasujú novú éru PC 23
- Recenzie na 007 First Light vychádzajú 42 zobraziť viac článkov >




















