Nintendo si patentovalo dotykové pero pre Joycony |
Príde ako doplnok pre aktuálny Switch, alebo je to náznak vyspelejšej Pro verzie?
HRY > NOVINKY >
Pero má byť určené pre používanie, keď je Switch v handheld móde a Joy-Cony sú odpojené. Následne pripojíte pero k jednému z Joy-Conov a kreslíte po obrazovke. Patent ukazuje, že pri kreslení pomocou dotykového pera môžete používať aj tlačidlá na Joy-Cone.
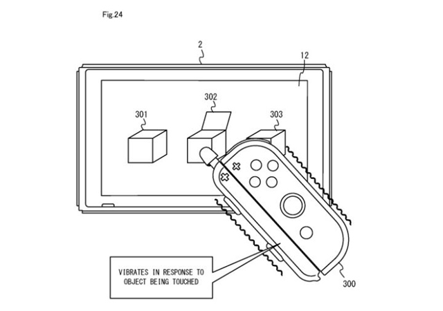
V jednom príklade hráč nakreslí čiaru dotykovým perom a potom stlačením jedného z tlačidiel na ovládači zmení hrúbku tejto čiary. HD Rumble funkcia je tiež znázornená na inom obrázku. Hráč sa dotkne jedného z troch polí zobrazených na dotykovej obrazovke a Joy-Con vibruje v reakcii na interakciu. Takéto interakcie by mohli otvoriť znova nové možnosti hrateľnosti.
Celý dokument nájdete tu.
Zdroj:
www.ign.com
Páči sa mi! (+2)
| NAJČÍTANEJŠIE ČLÁNKY TÝŽDŇA |
- RECENZIA: Diablo IV: Lord of Hatred 77
- Ruský procesor Irtysh importovaný z Číny sa predstavil na Witcherovi 65
- V Rockstare majú teraz pri dokončovaní GTA 6 drsné nadčasy 97
- Disney vraj rozmýšľa nad zrušením poslednej Star Wars trilógie z hlavného príbehu 75
- Hogwars Legacy je teraz zadarmo na Epic Store 13
- Take-Two vysvetľuje, prečo GTA VI príde najskôr na konzoly a až neskôr na PC 104
- GTA VI nebude mať skutočné značky, Take-Two potvrdilo pokračovanie tradície série 48
- Článok: Samsung Galaxy A57 5
- Tvorca Falloutu varuje: hráči prestávajú premýšľať, názory im diktujú influenceri 83
- Heroes of Might and Magic: Olden Era je vonku, legendárna stratégia sa vracia po r 14 zobraziť viac článkov >

















