PLATFORMA PS VR 2 |
Oceňovaná puzzle adventúra The Last Clockwinder vyjde aj na PSVR 2
The Last Clockwinder je jedna z najlepších hier minulého roka na Meta Quest Store a 22. februára vyjde aj na PSVR 2. V hre sa pokúsite opraviť tajomnú vežu prostredníctvom svojich klonov.
Tetris Effect: Connected a Rez Infinite prídu na PS5 a PSVR 2
Enhance potvrdilo, že vo februári uvidíme dva ich hry na PS5 aj s PSVR 2 podporou.
Remake kultovej Colossal Cave dnes vychádza, neskôr dostane aj PS VR 2 verziu
Legendárna textová adventúra dnes dostala moderný 3D remake od dvoch legendárnych mien.
PS VR 2 príde s viac ako 30-timi titulmi
Sony predstavilo celú várku VR titulov, ktoré vyjdú spolu s PS VR2 budúci mesiac. Respektíve prídu skoro po jeho vydaní.
Pozrite si ukážku z hrania Horizon: Call of the Mountain
Prvý raz si môžete pozrieť, ako sa hra v skutočnosti bude hrať.
Gran Turismo 7 a Beat Saber vyjdú pre PSVR 2
GT7 bude dostupné ako free upgrade v deň vydania headsetu.
The Last Worker vyjde aj na PSVR 2, ukazuje vianočný trailer
The Last Worker je poriadne netradičná sci-fi dystopická adventúra parodujúca Amazon. Budúci rok vyjde aj na PSVR 2 a nové video sa nesie vo vianočnej téme.
Crossfire: Sierra Squad príde na PS VR 2
Zatiaľ čo štandardný fps Crossfire prinieslo Smilegate na Xbox, na PS prináša VR akciu.
Sony ohlásilo dátum vydania a cenu PlayStation VR2
Headset príde vo februári.
PS VR 2 trailer - Feel a New Real
Sony ponúklo nový trailer na PS VR 2. Pridalo slogan s pocítením novej reality.
Sony potvrdilo, že PSVR hry nebudú kompatibilné s PSVR2
Na PSVR2 pôjdu len nové alebo preportované hry.
Star Wars Tales from the Galaxy’s Edge sa vracia v Enhanced edícii pre PS VR2
Ako mechanik pre droidov sa môžete opäť vrátiť do rozsiahlej galaxie aj s lepšou grafikou a mnohými ďalšími vylepšeniami pre nový VR headset.
State of Play naplánované na polnoc
Sony na dnes v noci naplánovalo nové State of Play. Bude sa orientovať na japonskú tvorbu.
Firewall Ultra predstavený, príde na PS VR2
VR Firewall séria pokračuje s titulom Firewall Ultra a príde rovno na PS VR2.
PS VR 2 približuje svoje režimy a inicializáciu
Sony približuje ďalšie detaily PS VR 2 headsetu.
Indie štúdio ukázalo prvú fotku PSVR 2 headsetu
Indie štúdio Bit Planet Games ukázalo vôbec prvú fotku reálneho PSVR 2 headsetu.
Walking Dead: Saints and Sinners Chapter 2 - trailer
VR verzia Walking Dead ukázala svoju novú kapitolu a potvrdila aj príchod na PS VR 2.
Horizon Call of the Mountain pre PS VR 2 bol predstavený
Sony na svojej prezentácii ukázalo VR verziu Horizonu, ktorá je pripravovaná pre PS VR 2.
State of Play začne o polnoci
Na hry tretích strán a VR hry zamerané State of Play si môžete pozrieť dnes v noci.
VR akcia After the Fall dostáva zadarmo nový obsah
After the Fall dostáva Frontrunner Season update, ktorý prináša novú výzbroj, nový režim a ďalšie novinky.
VR akcia After the Fall dostáva nový update a aj retail edíciu
Kooperačná VR akcia After the Fall sa zadarmo rozrastá o nový obsah s Boulevard updatom, ktorý prináša novú mapu, nového zombíka a ďalšie novinky. Okrem toho vyšla na PSVR aj retail edícia.
Moss: Book 2 vyjde už čoskoro
PSVR sa už čoskoro dočká pokračovania úspešnej akčnej adventúry s malou myškou v hlavnej úlohe
Sony predstavilo dizajn PSVR 2
Po ovládačoch tu už máme pohľad aj na PSVR 2 headset
Poznáme detaily PlayStation VR 2, na platformu vyjde úplne nová Horizon hra
Goertek sa po fámach spojených s Apple VR headsetom údajne vrhá do partnerstva aj so Sony
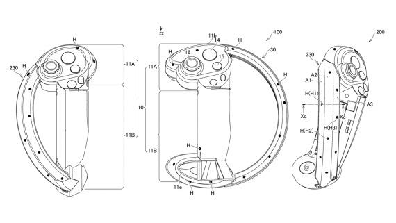
Bude takto vyzerať PSVR 2?
Objavil sa Sony patent, ktorý môže ukazovať, ako bude vyzerať PSVR 2 headset.
PSVR 2 ponúkne OLED displej s rozlíšením 2000x2040 pixelov
Oficiálne informácie zatiaľ nemáme, no vyzerá to tak, že druhá generácia PSVR ponúkne veľmi zaujímavé špecifikácie
Sony predstavilo PSVR 2 ovládače
Síce PS VR 2 čakáme najskôr niekedy budúci rok, Sony práve ukázalo jeho nové ovládače.
PSVR 2 patent naznačuje na inside out snímanie ovládačov
Zdá sa, že sa Sony zbaví nutnosti kamery na PS5 pri VR a rovno bude už mať headset zabudované snímače ako moderné PC headsety.
PS VR 2 patent ukazuje wireless headset s novými ovládačmi
Sony už dlhšie pripravuje novú verziu PS VR a máme tu prvý náznak ako bude vyzerať a čo ponúkne.
|
VIAC
|









































