Minuloročný patent od Sony umožní sledovateľom livestreamu vyhadzovať hráčov, ak si zaplatia |
Účastníci aj sledujúci by mali mať online kontrolu nad prítomnosťou hráčov v hrách
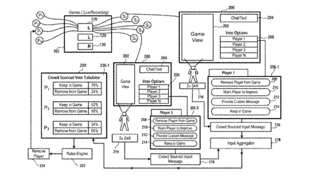
Patentový úrad USA pre Sony schválil patent týkajúci sa online zápaso,v a tak by mohli hráči v budúcnosti nielen kontrolovať, aký talent v hre zostane, ale taktiež by si sledovatelia za právo vyhadzovať hráčov mohli jednoducho zaplatiť. Patent na online zápasy a odkúpenie najväčšej bojovej hernej akcie Evo naznačuje, že Sony začína brať multiplayer vážne, avšak nič nebolo zatiaľ oznámené.
V navrhnutom systéme by sledovatelia hlasovali o odstránení hráčov z prebiehajúcej hry, ktorí by nemohli rozhodnutie ovplyvniť a mohli by taktiež byť prehodení do iného zápasu. Cez „cloudový herný systém“ by potom boli zobrazené aktuálne štatistiky aj schopnosti hráča. Pre zamedzenie zneužívania sa musí napríklad splniť nutných 60% hlasov na vyhodenie hráča, sledovatelia s vyšším skillom budú mať silnejšie hlasy alebo budú môcť napomenúť hráčov, aby sa zlepšili. Napriek tomu, že má systém pomôcť odstráneniu nevyhovujúcich hráčov, systém obsahuje taktiež spomínanú možnosť zaplatenia za právo vyhadzovania.
Samotné triedenie hráčov teda zlým nápadom byť nemusí, ale práve časť s platením nijako multiplayeru resp. esport hernej scéne nepomôže, ale iba navádza na väčšiu toxicitu.
| NAJČÍTANEJŠIE ČLÁNKY TÝŽDŇA |
- Nové Alza dni zľavy spustené 17
- Samsung: Miniaturizácia procesorov už takmer skončila, ďalšie zmenšenia už ponúknu 69
- Battlefield RedSec bude battle royale pre Battlefield 6, vyjde už v utorok 36
- Trh s Counter-Strike 2 skinmi skolaboval po malom update - z trhu sa stratili 3 mi 68
- Chcete byť Pro hráčom v Battlefielde 6? Priplatíte si. 71
- Battlefield RedSec práve vyšiel 67
- Warner Bros predaj už láka veľkých hráčov - Apple, Netflix, NBC Universal, Amazon 44
- Alza spustila Black Friday zľavy 25
- Fanúšikovský mod C&C Generals: Evolution dostal update 3
- Aký PC handheld kúpiť? Ktorý je najlepší? 39 zobraziť viac článkov >














