HARDVÉROVÉ NOVINKY |
Xiaomi dnes predstavilo aj K30 Ultra, za 300 eur ponúkne 500 tisícové Antutu skóre
Popri Mi10 Ultra dnes Xiaomi ukázalo aj Ultra verziu do nižšej Redmi K30 série.
Xiaomi Mi10 Ultra vedie rebríček DXOMark so 130 bodmi
DXOMark už otestoval kamery práve predstaveného Xiaomi Mi 10 Ultra a získali od nich najvyššie hodnotenie.
Xiaomi Mi 10 Ultra oficiálne predstavený
Xiaomi oficiálne predstavilo Mi 10 ultra, nasledovníka Mi 10 a Mi 10 Pro. Ten vylepšuje technológie po každej stránke.
Xiaomi oslavuje 10 rokov
K svojmu desiatemu výročiu pripravuje predstavenie MI 10 Ultra. Ešte predtým však zhrnie svoju cestu od MI 1 po MI 10 Pro.
Xiaomi Mi 10 Ultra sa nesie číslom 120 - 120x Zoom, 120Hz displej a 120W nabíjanie
Ešte nemáme detaily, ale objavujú sa zábery z reklám na Xiaomi Mi 10 Ultra, ktoré bude vylepšenou Mi 10.
Huawei má ďalší problém, už nemôže vyrábať vlastné čipy
Huawei síce nemal práve najrýchlejšie čipy, ale stále stíhal držať krok s konkurenciou. To sa už skončilo.
Aké gamepady sú najlepšie pre hranie xCloud hier na mobile?
xCloud prichádza a je na čase sa poobzerať po gamepade pre mobil.
Microsoft zrušil iOS xCloud aplikáciu, rozširuje možnosti na Samsung Galaxy Store
Microsoft sa už vzdal pokusov spustiť xCloud na iOS, kde Apple zakazuje aplikácie, ktoré by mohli konkurovať ich službe a zároveň rozširuje možnosti nákupov na Samsung Galaxy store
Otvárateľný Samsung Galaxy Z Fold 2 bol predstavený
Samsung predstavil druhú generáciu svojho otvárateľného mobilu - Z Fold 2.
Samsung predstavil Galaxy Note20, Watch 3 a aj Galaxy Tab S7 plus
Samsung to na dnešnej prezentácii rozbalil a predviedol celú paletu produktov.
Samsung Unpacked event to rozbalí o 16:00
Samsung pripravil predstavenie svojich nových produktov a hlavne Note 20 na dnes. Livestream začne o štvrtej
Samsung Galaxy Tab S7 a S7 plus tablety budú rýchle, dostanú Snapdragon 865 plus
Síce nové Galaxy tablety ešte neboli ohlásené podľa leaku ponúknu veľmi pekné parametre.
Oculus Quest 2 zrejme príde 15. septembra
Už dlhšie sa objavovala zvláštna biela verzia Questu, teraz už vieme, že to bude Quest 2 a vyjde už o necelé dva mesiace.
Legion Phone Duel je herný mobil od Lenova
Popri Asus ROG Phone 3 dnes predstavilo svoj herný mobil aj Lenovo
Herný mobil Asus ROG Phone 3 predstavený
Asus práve predstavil už tretiu verziu svojho herného mobilu ROG Phone.
OnePlus Nord mobil bol predstavený
OnePlus sa pustilo do nižšej série svojich mobilov a prinieslo OnePlus Nord model s nižším procesorom a plastovým zadným krytom.
Predstavenia Samsungu pripravené na augustovú prezentáciu leaknuté
Samsung 5. augusta plánuje predstavenie Note 20 Ultra, ale pridá k tomu aj Z Fold a nové wireless slúchadlá.
Xiaomi Redmi 9C bol predstavený
Ak máte radi lacné mobily a nevadí vám, že sú pomalé, za niečo cez stovku prichádza aj Redmi 9C.
Nokia 5.3 je už u nás v predaji
Ak máte radi Nokiu, prichádza nová ponuka v nižšej strednej triede a to verzia 5.3.
Xiaomi Redmi 9A predstavený
Xiaomi predstavilo nasledovníka svojich 100 eurových Redmi mobilov.
Snapdragon 865 Plus čip ukázal benchmark, má 650 tisíc v Antutu na Lenovo Legion mobile
Vyzerá, že Snapdragon 865 Plus bude mať pekné zvýšenie výkonu a pôjde v Antutu približne o 100 tisíc bodov hore.
Samsung už teasuje predstavenie Galaxy Note 20 a Fold 2
Na 5. augusta Samsung naplánoval predstavenie svojich nových mobilov.
RECENZIA MOBILU: iPhone SE 2020
Apple konečne vydalo očakávaného nasledovníka malého mobilu iPhone SE. Je však len novou verziou iPhone 8.
Najväčšie faily v mobiloch
Pozrime sa na najväčšie faily v mobilnom priemysle za posledné roky.
Prvá kamera pod displejom je už vo výrobe, vek výrezov pomaly končí
Visionox, firma vyrábajúca displeje, práve začala s výrobou OLED displejov, ktoré budú vhodné pre kamery pod displejom
Wallpaper, ktorý vám zhodí Android mobil
Objavil sa obrázok, ktorým sa dá zrušiť Android mobil.
Prototyp iPhone 13 vraj už má USB-C port
Japonská stránka ukázala 3D tlačenú verziu iPhone 13 postavenú podľa informácií zo zdrojov z Alibaby.
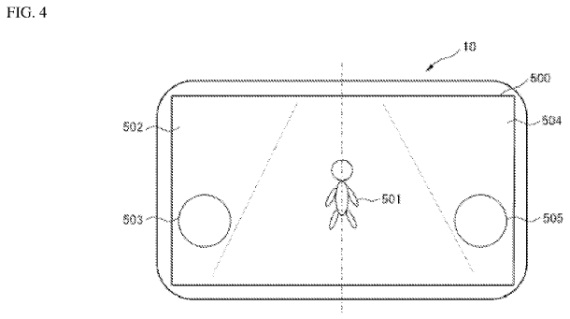
Sega si patentovala touchscreen technológie
Zatiaľ čo Sega plánuje na štvrtok nejaké ohlásenie, objavil sa patent na touchscreenovú technológiu.
Xiaomi predstavilo Redmi 10X sériu mobilov
Xiaomi nelení a predstavilo ďalšie dva mobily, zatiaľ pre Čínu.
Samsung Galaxy Note 20 Plus rendery ukazujú väčší displej a výraznejšie kamery
Prvé rendery nám naznačujú, čo približne môžeme čakať od prichádzajúcej Galaxy Note 20
|
VIAC
|










































