PSVR 2 patent naznačuje na inside out snímanie ovládačov |
Zdá sa, že sa Sony zbaví nutnosti kamery na PS5 pri VR a rovno bude už mať headset zabudované snímače ako moderné PC headsety.
HRY > NOVINKY >
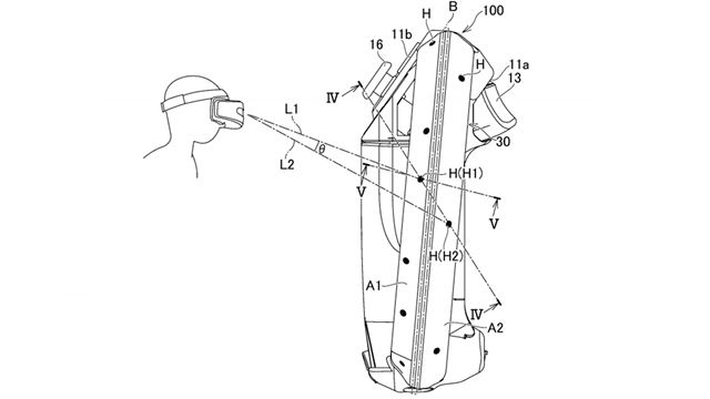
Zdá sa, že sa Sony zbaví nutnosti kamery na PS5 pri PSVR2 a rovno bude už mať headset zabudované snímače, ako s tým začali Mixed reality VR headsety a ako majú aj moderné VR headsety. Ukazuje nám to nový patent ovládačov, ktoré sú posiate senzormi.
Snímanie headsetom je najjednoduchší systém snímania pohybu ovládačov. Nie najlepší alebo najspoľahlivejší, ale cenovo veľmi výhodný. Netreba ďalšie zariadenia a stačí len headset a ovládače.
Nakoniec aj vďaka tomu už Oculus stiahol Quest 2 na 299 dolárov a to má v headsete ešte kompletný mobilný hardvér. Môžeme čakať, že PSVR2 touto zmenou a vyhodením kamery môže byť lacnejší ako bol v aktuálnej generácii.
Zdroj:
uploadvr.com
Páči sa mi! (+1)
| NAJČÍTANEJŠIE ČLÁNKY TÝŽDŇA |
- Nové Alza dni zľavy spustené 17
- RECENZIA: Ninja Gaiden 4 41
- RECENZIA: The Outer Worlds 2 37
- Samsung: Miniaturizácia procesorov už takmer skončila, ďalšie zmenšenia už ponúknu 69
- Shuhei Yoshida tvrdí, že grafický výkon v PlayStation konzolách dosiahol svoj limi 73
- RECENZIA: Darkenstein 3D 11
- Sarah Bond: Nový Xbox bude veľmi hi-end a veľmi prémiový 110
- Battlefield 6 predstavuje prvú sezónu 79
- Warner Bros predaj už láka veľkých hráčov - Apple, Netflix, NBC Universal, Amazon 44
- Článok: Samsung Galaxy S25 FE 9 zobraziť viac článkov >















