Sony si patentovalo spätnú kompatibilitu so staršími PlayStation generáciami cez cloud |
Sony zjavne nespraví hardverovú spätnú kompatibilitu so staršími generáciami v PS5 konzole, ale plánuje ísť na to cloudovo. Nakoniec podobne, ako to robí doteraz.
HRY > NOVINKY >
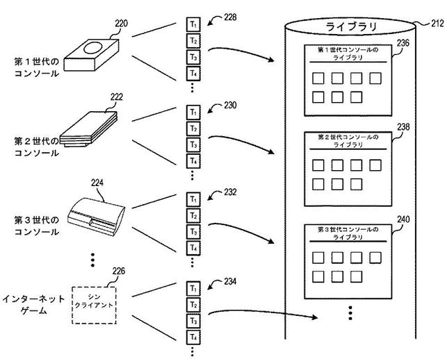
Sony zjavne nespraví hardverovú spätnú kompatibilitu so staršími generáciami v PS5 konzole, ale plánuje ísť na to cloudovo. Nakoniec podobne, ako to robí teraz. Len teraz s tým rozdielom, že si patentovalo PS1, PS2 a PS3 cloud s virtuálnymi konzolami. Teda hry nebudú špeciálne upravené pre systém, ale priamo emulované.
Zatiaľ z patentu nie je jasné, či to je previazané s Playstation Now, alebo to ide vlastným systémom, ale zrejme integrácia do Now nebude chýbať.
Zdroj:
www.ign.com
Páči sa mi! (+3)
| NAJČÍTANEJŠIE ČLÁNKY TÝŽDŇA |
- Budú toto tituly z vianočnej rozdávačky Epicu? Bude rozdávať aj RDR2? 49
- Nové zľavy pred Vianocami 31
- Avatar: Oheň a Popol má zatiaľ najnižšie hodnotenia zo série 40
- Mobily so 4GB pamäťou sa vrátia, niektoré hi-endy zrejme klesnú na 12GB 87
- RECENZIA: Terminator 2D: NO FATE 58
- Half-Life 3 má byť launch hrou pre Steam Machine, vydanie cieli na jar 2026 71
- Takto vyzerá Witcher 3 s AI filtrom 49
- Warner Bros. oficiálne zamietol ponuku Paramountu, Netflix rozbehol promo kampaň 35
- LEGO výpredaje začali 7
- Epic rozdáva Jotunnslayer: Hordes of Hel 17 zobraziť viac článkov >













