Nový patent Sony umožňuje prihlásenie do účtu konzoly len zdvihnutím a podržaním ovládača |
Išlo by o veľmi efektívne riešenie, ktoré by bolo bezpečné aj v prípade, že sa z cudzej konzoly zabudnete odhlásiť.
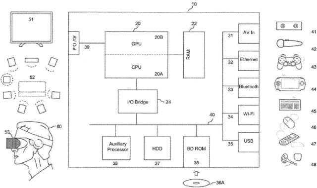
Nový patent Sony s názvom Apparatus, System and Method of Authentication poukazuje na myšlienku prihlásenia sa do profilu iba držaním ovládača. Fungoval by vďaka signálom, ktoré sa prenášajú do konzoly po zodvihnutí ovládača. Konkrétne je to celé postavené na prepočtoch telemetrických dát, ktoré pochádzajú z rôznych častí ovládača. Pre niekoho zaujímavé, pre iného možno zbytočné, každopádne patent prináša aj zaujímavý argument, prečo by nová metóda prihlasovania mohla byť užitočná: "Keďže sa internetové pripojenie herných konzol rozšírilo, pre používateľov je čoraz bežnejšie, že sa pri hraní na cudzej konzole prihlasujú na ten istý účet, aký používajú na svojej konzole doma. Robia to preto, že chcú sledovať priebeh hry a mať prístup k obsahu svojho účtu, aj keď hrajú na kamarátovej konzole. Na prihlásenie do účtu sú však vyžadované heslá, ktoré môžu ostatní používatelia uvidieť. Navyše, ak je už používateľ prihlásený, môže nastať situácia, že sa zabudne odhlásiť a niekto iný získa prístup k jeho účtu." S novým patentom by sa používatelia mohli ľahko prihlásiť do svojho účtu na inej konzole a nemuseli by sa obávať žiadneho zneužitia ani v prípade, že sa zabudnú odhlásiť. Odpadla by aj možnosť prechádzať procesom prihlásenia cez menu aj zadávanie hesla. Išlo by o efektívnejšie prihlasovanie na nových konzolách s ľahkým prístupom k vášmu profilu. Ako už bolo spomenuté, telemetrické údaje by sa do konzoly prenášali ihneď po zodvihnutí ovládača. Vychádzali by z polohy ovládača, orientácie, motion dát a snímačov citlivých na tlak. Tieto dáta sa potom prevedú do skóre spoľahlivosti, pričom svoje skóre má na danej konzole každý užívateľ. Jeho skóre spoľahlivosti sa musí priblížiť čo najbližšie k tomu, ktoré je uložené v konzole. Potom prebehne prihlásenie do účtu. Je zaujímavé, že patent ukazuje nielen klasický ovládač, ale aj VR headset, PlayStation Move, PSP, myš a klávesnicu. Pravdepodobne to znamená, že všetky tieto časti hardvéru by dokázali využiť telemetrické údaje na prihlásenie do systému. Podobne ako každý patent, ani tento sa napokon nemusí stať realitou. Zlepšenie haptickej odozvy a adaptívnych triggerov nového ovládača DualSense však naznačuje, že takýto spôsob prihlásenia do účtu nemusí byť ďaleko. |
| NAJČÍTANEJŠIE ČLÁNKY TÝŽDŇA |
- GTA VI trailer je už tu! 444
- Porovnanie grafiky GTA V a GTA VI 46
- Trailer na GTA VI už má dátum premiéry 122
- Starfield hráč prešiel 33 multiverz, aby stretol sám seba 79
- Alza spustila ďalší výpredaj 5
- Hráč spravil v Skyrime genocídu, zabil úplne všetkých 33
- Rockstar teasoval dátum GTA VI traileru už v lete 48
- Aké hry prídu v decembri? 22
- PS Plus hry na december predstavené 70
- Witcher 4 bude určený aj pre nových hráčov 87 zobraziť viac článkov >







