Sony si patentovala pomocný systém schopný sám hrať hry pomocou AI |
Nový patent od Sony naznačuje zaujímavý prístup k asistencii v hrách. Dokumenty hovoria o využití umelej inteligencie priamo v hernom svete, no zatiaľ nie je jasné, či sa technológia niekedy dostane do reálnych hier.
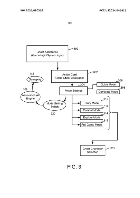
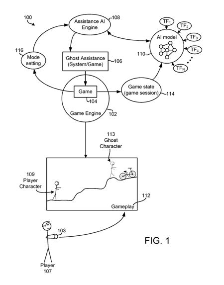
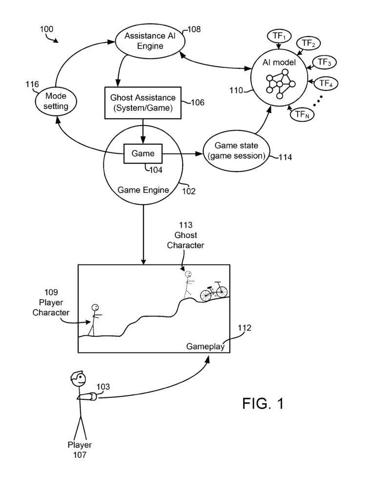
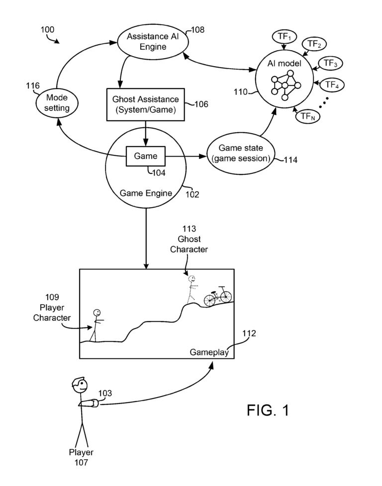
Sony si nechala patentovať technológiu označovanú ako Ghost Player, ktorá by v budúcnosti mohla slúžiť ako inteligentná pomoc pre hráčov, ktorí sa zaseknú v konkrétnej časti hry. Patent bol pôvodne podaný v septembri 2024, no tento týždeň bol zverejnený v rámci medzinárodnej dokumentácie Svetovej organizácie duševného vlastníctva.
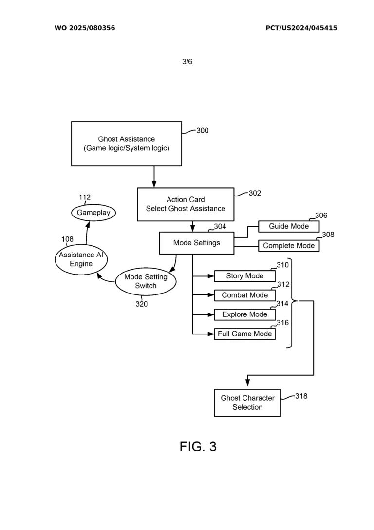
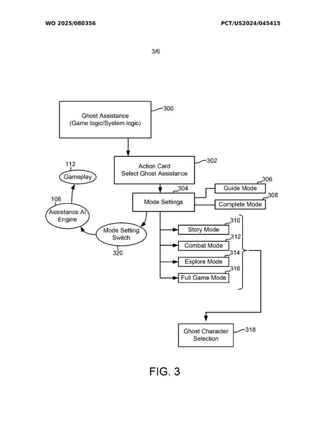
Podľa popisu by systém umožnil privolať ghost verziu hráčovej postavy ovládanú umelou inteligenciou, ktorá by buď ukázala riešenie problému, alebo danú pasáž úplne odohrala namiesto hráča. Patent opisuje dva základné režimy - sprievodný, kde AI demonštruje riešenie, a režim kompletného dokončenia úseku.
Ako príklad sa uvádza situácia v dobrodružnej hre typu Uncharted, kde by umelá inteligencia prevzala kontrolu nad postavou a ukázala správny postup pri riešení puzzlu. V prípade potreby by mohla problém vyriešiť bez ďalšieho zásahu hráča.
Asistenčné systémy v hrách nie sú ničím novým - bežne sa objavujú možnosti zníženia obťažnosti, preskočenia časti hry alebo pomôcky pri hádankách. Niektoré moderné tituly od Sony však boli kritizované za príliš agresívne rady zo strany NPC postáv, ktoré často prezradia riešenie skôr, než má hráč šancu skúšať vlastný postup.
Zaujímavosťou je, že Ghost Player by nemal fungovať na základe vopred nahraných vstupov, ale mal by byť trénovaný na existujúcich záznamoch hrania. Systém by tak dynamicky reagoval na aktuálnu situáciu v hre. Ide zároveň o možný posun oproti funkcii PS5 Game Help, ktorá ponúka statické videá alebo obrázky s radami priamo cez herné rozhranie.
Treba však zdôrazniť, že patent ešte neznamená reálne nasadenie technológie. Sony, podobne ako iné veľké firmy, si dlhodobo chráni rôzne koncepty, z ktorých sa mnohé nikdy nedostanú do finálnych produktov. V kontexte rastúceho využívania umelej inteligencie v hrách však ide o ďalší signál, kam by sa herné asistencie mohli v budúcnosti uberať.
| NAJČÍTANEJŠIE ČLÁNKY TÝŽDŇA |
- Mega výpredaj roka už začal 59
- Hry v roku 2026 43
- BootROM kľúče pre PlayStation 5 unikli, môže to viesť k trvalým jailbreakom konzol 62
- Nemecký distribútor zastavil predaje vyšších RTX 50 kariet, nižšie obmedzil 132
- Filmy v roku 2026 31
- Epic rozdáva hry Total War: Three Kingdoms a Wildgate 25
- Ubisoft už teasuje návrat Edwarda 41
- Spin-off Stranger Things seriál sa bude točiť okolo tajomného kameňa 76
- Samsung odhalí Galaxy S26 sériu vo februári, ceny neplánuje zvyšovať 16
- Assassin's Creed: Hexe by mohlo vyjsť v druhej polovici roka, Black Flag Resynced 29 zobraziť viac článkov >














