Sony si patentovalo robotického spoločníka, ktorý vás môže na gauči povzbudzovať popri hraní |
Robot bude reagovať na vaše úspechy a neúspechy v hrách a na základe vašeho správania k nemu si bude k vám aj budovať vzťah
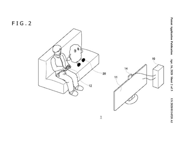
Sony si patentovala robotického herného spoločníka, ktorý sympatizuje s používateľom a reaguje na jeho emócie počas hrania hry. Patent zobrazuje robota ako malého chlapca, ktorý pri hraní hier sedí vedľa vás na pohovke. Dokáže s hráčom hovoriť a vcítiť sa do hry, ako aj pohybovať pažou, nohou alebo krkom v reakcii na emócie používateľa. Dokonca by mal vedieť s vami hrať hry - v patente sa uvádza príklad, že by mal vedieť ovládať súperiaci tím v baseballovej hre. Mal by vedieť vyhodnocovať vaše pocity ako hnev, láska, radosť či prekvapenie na základe biometrických údajov, ako je dýchanie, potenie, či tlkot srdca.
Patent ďalej vysvetľuje, že robot má „index lásky“, ktorý bude ovplyvnený tým, ako sa bude hráč k robotovi správať počas vypätých situácií. Napríklad ak robot požiada majiteľa o nabitie a ten ho nedá okamžite nabiť, robot to vyhodnotí tak, že ho hráč nemá rád. Rovnako to bude hodnotiť, ak napríklad budete s robotom nevhodne zaobchádzať, či ho upozorňovať, že je v komunikácii hlučný, či otravný. Ak robotovi tento index klesá, nebude už chcieť v budúcnosti s hráčom pri hraní komunikovať, čo je vedomá akcia zameraná na to, aby používateľ premýšľal o svojom postoji a v budúcnosti zaobchádzal s robotom láskavejšie. Môže tiež pomôcť zlepšiť „životný rytmus“ napríklad tak, že upozorní hráča, že je čas ísť spať. Poslednou časťou patentu je aj virtuálna verzia tohoto spoločníka, ktorá sa objaví, ak budete mať napríklad nasadenú VR helmu.
| NAJČÍTANEJŠIE ČLÁNKY TÝŽDŇA |
- Nové megazľavy spustené 46
- Peter Jackson ohlásil film The Lord of the Rings: Shadows of the Past 35
- Kajajte sa, Jesus Simulator je tu! 28
- Prvý záber z Harry Potter seriálu 45
- Prichádzajúca Assassin's Creed hra nás zavedie do troch rôznych regiónov 31
- VIDEO : Harry Potter and the Philosopher's Stone - teaser na seriál 79
- Šéf Take 2 hovorí, že AI nevytvorí GTA ani veľký hit, dodáva, že konzoly nebudú od 42
- Sony zvyšuje ceny PS5, PS5 Pro a PlayStation Portal 170
- Kremíkové batérie menia mobily, mobilom stúpa kapacita batérii a aj výdrž 15
- Bližší pohľad na hercov z Harry Potter seriálu 123 zobraziť viac článkov >














