Valve si patentovalo nový VR headset |
Vyzerá, že Valve pracuje na nasledovníkovi svojho Index headsetu.
HRY > NOVINKY >
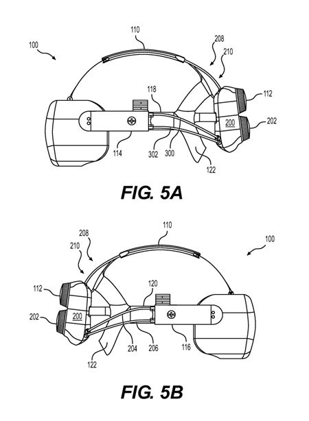
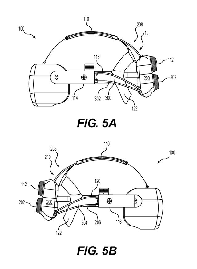
Vyzerá, že Valve pracuje na nasledovníkovi svojho Index headsetu, respektíve ďalšom svojom headsete. Aspoň podľa patentu, ktorý ukazuje viac menej štandardné uchytenie na hlave, len teraz s dvojitým otočným uťahovacím systémom vzadu. Na ten sa aj patent primárne orientuje Samozrejme je to patent a nevieme, či to bude aj realizované, ale Valve by sa už nový headset zišiel, keďže hlavne displejom už zaostáva za konkurenciou. Vyváženie pôvodného Indexu tiež nie je ideálne. Zároveň zatiaľ nevieme, či spraví štandardný PC headset, alebo pôjde do samostatného headset s vnútornosťami zo Steam Decku. Tam by bola pre neho tiež cesta, aj keď kvalita zobrazenia hier by v tom prípade išla dole.
Zdroj:
pdfaiw.uspto.gov
|
Páči sa mi!
| NAJČÍTANEJŠIE ČLÁNKY TÝŽDŇA |
- GTA VI trailer je už tu! 444
- Trailer na GTA VI už má dátum premiéry 122
- Porovnanie grafiky GTA V a GTA VI 46
- Starfield hráč prešiel 33 multiverz, aby stretol sám seba 77
- Alza spustila ďalší výpredaj 5
- Hráč spravil v Skyrime genocídu, zabil úplne všetkých 33
- Rockstar teasoval dátum GTA VI traileru už v lete 48
- Aké hry prídu v decembri? 22
- PS Plus hry na december predstavené 70
- Witcher 4 bude určený aj pre nových hráčov 87 zobraziť viac článkov >








